Ako merať diely?
Neváhajte nás kontaktovať ak potrebujete poradiť so správnym výberom akéhokoľvek dielu z našej ponuky.
Tel.: +421 944 955 777, e-mail: info@poloos.sk
Ako správne merať hnací hriadeľ / Kardan:
Kardan je potrebné merať v zasunutom / stlačenom stave!

Ako správne merať kardanový kríž + rozdelenie:
Typ 1 - Lisované
D - priemer šálky, L - celková výška
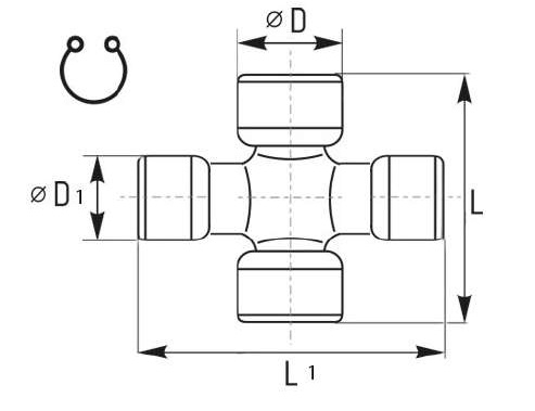
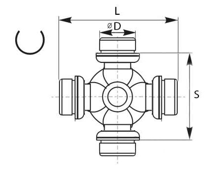
Typ 2 - zaistené zvonku
D - priemer šálky, L - celková výška
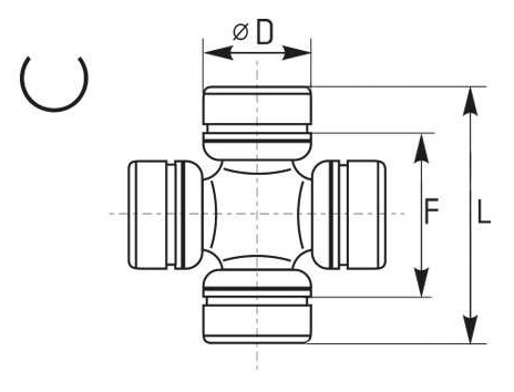
Typ 3 - zaistený zvnútra
D - priemer šálky, L - celková výška, F - I/C dĺžka medzi vnútorným zaistením
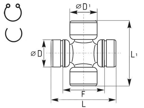
Typ 4 - 2x zaistený zvonku + 2x zvnútra

D / D1- priemer šálky, L / L1 - celková výška, F - I/C dĺžka medzi vnútorným zaistením
Typ 5 - Kombinované

D / D1- priemer šálky, L / L1 - celková výška
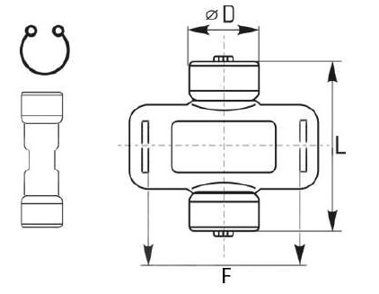
Typ 6 - SCANIA krídla (wings)

D / D1- priemer šálky, L / L1 - celková výška
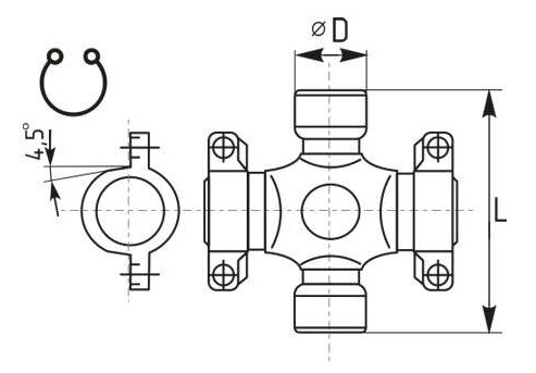
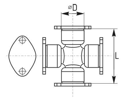
Typ 7 - kríže do poloosí


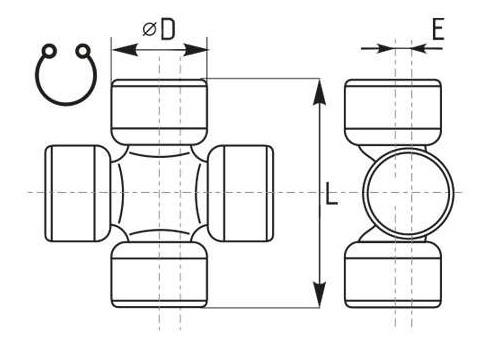
Typ 8 - Presun osi OFF SET

D / D1- priemer šálky, L / L1 - celková výška, E - presun osi
Typ 9 - 4x zaistené plechom (Zvarené)

D - priemer šálky, L - celková výška
Typ 10 - 4x plech na 3 skrutky

D - priemer šálky, L - celková výška
Typ 11 - 4x plech na 2 skrutky

D - priemer šálky, L - celková výška
Typ 12 - 2x plech (zvarené) + 2x zaistené zvonku

D - priemer šálky, L - celková výška
Typ 13 - Mechanics
S - rozteč skrutiek na protiľahlých krídlach, R - rozteč skrutiek na krídle, T - priemer kríža
Katalóg krížov MECHANICS Vám poskytneme na vyžiadanie.
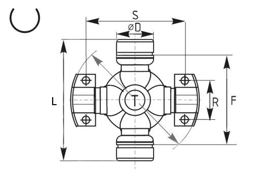
Typ 14 - Mechanics + 2x zaistený zvonku

D - priemer šálky, L - celková výška, S - rozteč skrutiek na protiľahlých krídlach, R - rozteč skrutiek na krídle, T - priemer kríža
Typ 15 - Mechanics + 2x zaistený zvnútra

D - priemer šálky, L - celková výška, F - I/C rozmer medzi vnútorným zaistením, S - rozteč skrutiek na protiľahlých krídlach, R - rozteč skrutiek na krídle, T - priemer kríža
Typ 17 - Priemysel

D - priemer šálky, L - celková výška, S - dĺžka medzi vnútorným zaistením




